



400 6626 286
產品描述
音叉物位/料位開關MX-WW-144-08是專用于容器、槽罐和各種管道的液位,料位測量,控制的。音叉物位開關通過震動原理來測量物位高度,音叉由晶體激勵產生振動,當音叉被液體或固體浸沒時振動頻率發生變化,通過安裝在音叉基座上的一對壓電晶體使音叉在一定共振頻率下振動。當音叉與被測介質相接觸時,音叉的頻率和振幅將改變,這些變化由智能電路來進行檢測,處理并將之轉換為一個開關信號。音叉式物位開關又被稱作“電氣浮子”,凡使用浮球開關和由于結構、湍流、攪動、氣泡、振動等原因不能使用浮球開關的場合均可使用“電氣浮子”。由于該物位開關無活動部件,因此無需維護和調整,是浮球開關的升級換代產品,廣泛應用于自來水、礦泉水、紙漿、膠水、染料、泥漿、堿溶液、酸溶液、啤酒、飲料、石化、輕工、食品、水處理、可產生氣體的液體、流動性好的固體粉料或顆粒。對物位進行上、下限報警及控制。

應用領域
?液位測量與控制水利工程、恒壓供水
?石化、環保、石油
?液壓及氣動控制系統
?制藥,食品行業
?自動控制和檢測系統
?液體灌、污水池、油池
?化纖行業,造紙業的紙漿測量。
產品特點
?適應性強:被測介質不同的電參數、密度對測量均不產生影響。結垢、攪動、湍流、氣泡、振動、中等粘度、高溫、高壓等惡劣條件對檢測也無影響;
?不需調校:由于音叉物位開關的檢測不受被測介質電參數及密度的影響,所以無論測量何種介質都不需要現場調校;
?免于維護:由于音叉物位開關的檢測過程由電子電路完成,無活動部件,所以一經安裝投入適用便不需要維護。
外形尺寸
接線端子
技術規格
| 常規型號: | MX-WW-144-08(常規型號);MX-WW-144-08G(高溫型號) |
| 量程范圍: | 100MM~5000MM (可選擇) |
| 被測物料: | 粉末和顆粒=10mm,密度>0.1g/cm,液體,黏度=10000mm2/s,密度>0.7g/cm³ |
| 工作溫度 | 叉體 -40~150℃ |
| 環境溫度 | -20°~70° |
| 操作壓力: | -1…+40bar |
| 供電電壓 | AV220V(A),DC24V(B) |
| 功耗情況: | 直流供電時3W Max交流供電時15W Max |
| 輸出信號 | 兩組常開、常閉觸點,(AC/220V/5A,DC/24V/10A) (默認開關量) |
| 介質比重: | >0.55 |
| 叉體材質 : | SUS304/SUS316L |
| 安裝方式: | 螺紋連接:G1/2,G1。法蘭連接:DN50等 (可選擇) |
| 電氣連接: | M20*1.5 |
| 防護等級: | IP65 |
| 防爆等級: | Ex dⅡCT4 |
訂購指南
| 型號 | 量程(毫米) | 供電 | 輸出信號 | 安裝接口 | 材質 | 其它要求 |
| MX-WW-114-08 | 100MM | 24DV | 開關量 | G1 | 304 | --- |
| 訂貨舉例: MX-WW-114-08-100MM-A-G1-304 | ||||||
特別提醒
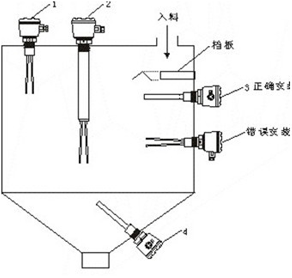
正確安裝:
a頂部安裝,振動棒垂直向下,可安裝在頂部(遠離進料口)的任何位置。
b橫向安裝,振動棒向下傾斜15-20度,以減少物料的沖擊及掛料現象的發生。
C橫向安裝,振動棒向下傾斜15-20度,料位開關上方有擋板(長度約為10″(250mm),寬度約為8″(200mm)),可防止(d)物料在料位開關周圍的不當堆積,并可降低物料對于料位開關的沖擊。
d安裝于卸料斗內,料位開關螺牙底端與桶壁之間的最大距離不超過2.4″(60mm),可避免因物料的不當堆積而發生誤報警的情況
側面安裝時,安裝標記必須垂直向上或向下探頭頭部向下傾斜15℃左右,管道安裝時方向標記指向必須與管道方向一致。


開關維護
1、進料孔不能直接對準音叉,如果無法躲避時,為防止壓實的大塊物料落到音叉上,須在音叉上面大于20cm處設防護板,或加保護罩,以免損壞叉體。如果是風送物料時可設防風板。
2、振動較強的場合,可用繩索吊裝叉頭(必須特殊定貨)。
3、不可將儀表設置在陽光直射處,如陽光直射可設一塊隔熱板。
4、外殼安裝要使電纜出線孔朝下,并加橡皮圈密封防止水滴滲入殼內。
5、使用前先檢查儀表的工作和延時,無誤時方能投入運行。
6、儀表要定期檢查,清除叉體上的沉積物。
7、接地線要與容器壁或大地良好接觸,接地電阻<2Ω。
8、音叉限位開關通常采用側裝方式安裝與倉體側壁對料高度進行上下限位置檢測,當倉體不便側面開孔時可采用頂裝,位置選擇能避開料位沖擊的位置。
如有不懂選型請咨詢銷售工程師,或者當地經銷商。
公司名稱:上海美續測控技術有限公司
辦公地址:上海市松江區三新北路1800弄國家電子商務園24號樓3層
工廠地址:上海松江區光華路650號
聯系電話:021-67881626
公司網址:m.0025sf.cn 、詳細說明請參照使用說明