



400 6626 286
產品描述
上海美續公司為了更好地服務廣大國內客戶,我公司在熔體壓力傳感器的基礎上研發了一種較為直觀的高溫熔體壓力表:MX-RT-05系列熔體壓力表,其采用了英國進口的高穩定機芯,并且采用膜片隔離、壓力現場指針指示,機械式結構,無需電源供電,德國原裝機芯,表盤可正反安裝,表殼任意360度調整最佳可視角度廣泛應用于化纖,塑料擠出行業高溫壓力的監測。
應用領域
?化纖拉絲設備
?醫藥、食品加工、包裝設備
?板材擠出機、型材擠出機
?造粒回收機等
?其它高溫流體的壓力測量和控制
?塑料橡膠制造設備
產品特點
?性價比高
?不銹鋼封裝、使用時間長
?可調零、安裝方便
?良好的穩定性和重復性
?壓力直接顯示、不需供電
?抗振動、抗沖擊、量程范圍寬、可測量絕壓、表壓和密封參考壓力
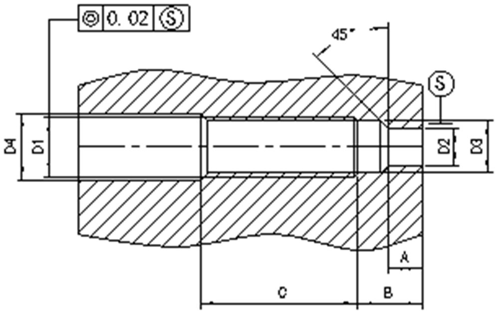
外形尺寸
平面密封 | D1 | M22×1.5 | M28×1.5 | G3/4″ | PT3/8″ |
| D2 | Φ16.1 | Φ18.3 | Φ18.3 | Φ10.3 | |
| D3 | Φ20.1 | Φ26.1 | Φ24.2 | Φ14.9 | |
| M | Φ23 | Φ30 | Φ21 | Φ11 | |
| A | 11 | 12 | 12 | 14 | |
| B | 12 | 15 | 15 | 19 | |
| C | 40 | 35 | 35 | 40 | |
45°斜面密封 | D1 | M12×1.5 | M14×1.5 | 1/2-20UNF | M18×1.5 |
| D2 | Φ8 | Φ8 | Φ8 | Φ10.1 | |
| D3 | Φ10.8 | Φ12.5 | Φ11.5 | Φ16.1 | |
| D4 | Φ12.5 | Φ14.5 | Φ13.1 | Φ20 | |
| A | 6 | 6 | 6 | 6.5 | |
| B | 9 | 9.5 | 9.5 | 10 |
技術規格
| 壓力量程: | 0-2MPA(此量程請選擇大螺紋);0-20MPA 0-50MPA 0-100MPA 0-150MPA(量程可選) |
| 綜合精度: | 1.5%FS 代號C; |
| 過載壓力: | 1.5倍額定壓力 |
| 重復性值: | ±0.2% |
| 工作溫度: | -20℃~350度 |
| 非線性值: | 滿量程的0.2% |
| 膜片材料: | 15-5PH 帶涂層的不銹鋼;特殊膜片材質(請和選型工程師溝通) |
| 表盤直徑: | 100MM |
| 硬桿長度: | 152MM;250MM;750MM |
| 壓力連接: | 1/2″-20UNF, M14×1.5, M18×1.5, M22×1.5,G3/4(可按客戶要求) |
| 外殼材質: | 默認不銹鋼外殼 |
訂購指南
| 型號 | 量程 | 精度 | 桿長 | 安裝方式 | 無 | 無 |
| MX-RT-05 | 50MPA | 1.5%S | 152MM | M22*1.5 | ||
| 訂貨舉例 | MX-RT-05-50MPA-152-M22 | |||||
特別提醒
如有不懂選型請咨詢銷售工程師,或者當地經銷商。
公司名稱:上海美續測控技術有限公司
辦公地址:上海市松江區三新北路1800弄國家電子商務園24號樓3層
工廠地址:上海松江區光華路650號
聯系電話:021-67881626
公司網址:m.0025sf.cn 、詳細說明請參照使用說明